《三国:谋定天下》萌新开荒必备攻略
三国谋定天下新手怎么开荒,开荒新手期期间,可以随意置换武将和战法,均不消耗黄金,所以在快结束新手期时,一定要调整好队伍搭配,不浪费次数和黄金。
《三国:谋定天下》萌新开荒必备攻略:
一、阵容
一套开荒
一套可获得:
①徐盛、大乔、张飞(68米送)、关羽(云游赠送)
②26160玉石
③战法〈威名显赫〉〈清风驱疾〉
④若干武将战法,运气好可以出个刘备组桃园,其他任何有抗伤得前排都可以替换刘备跟关羽张飞配队
[祈祷自己是欧皇,之前公测那会儿我们盟一个零氪党7天三皇全齐]
有实力的大佬可以直接云游拉满,领三皇自选
一套第一天开荒阵容(没刘备):箕型阵
徐盛:避其锐气
张飞:战八方(疾行侧击可替换)
关羽:斩将夺旗(揭竿而起可替换)
这种开荒队,就是孙大圣没法比又肉又有控制和伤害。
有刘备的:
桃园队(一字阵)
刘备:来好息师
张飞:战八方
关羽:威名显赫
20级前可用一字阵,20级后换箕型阵
一套第二天开荒阵容:
刘备:避其锐气+蓄势待发
张飞:战八方+斩将夺旗
关羽:威名显赫+水淹七军
桃园战法不固定,刘备减伤+增伤或回奶战法,张飞控制兵刃战法,关羽兵刃输出即可。
桃园队可以从开荒一直用到打架,无需更换,一赛季强无敌(喵利休口头禅)
一套党开荒阵容推荐

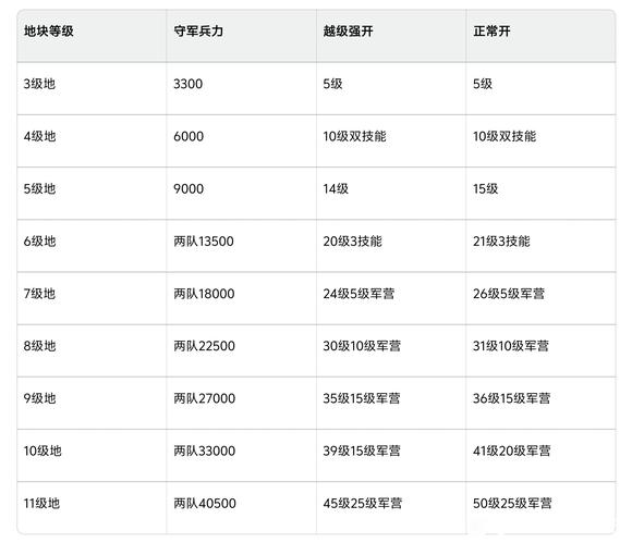
二、开荒兵力配置
看图即可,图表我整理的很详细了,根据图表来
一二级地不用说,只要是个武将兵力拉满都能过
3级地5级开
4级地10级开
5级地15级开
6级地20级开
7级地25级开
……以此类推,普通玩家不建议越级打地,战损高,经验少,除非有红度,可以考虑尝试越级
三、开荒中细节提醒
1、开荒新手期期间,可以随意置换武将和战法,均不消耗黄金,所以在快结束新手期时,一定要调整好队伍搭配,不浪费次数和黄金
2、点开同盟,会有商店,日常和贡献商店,前期急需铜币升级战法,所以该买的记得买,同时也有预备兵为你翻车保驾护航,预备不够时可进行购买,日常商店每天都会更新,贡献商店7天一更
3、城务点开,都是每天该做的
①贼兵,讨贼可以获得一定数量资源箱,可以缓解燃眉之急,同时可以获得贡献值,可以在贡献商店换预备兵和资源,加快盟壳升级
②屯田,合理运用好每天5次屯田机会,卡资源时用一用
③军演,一般来说,每天上线第一件事情就是把军演先打了,所有的都是早上7点刷新,一刷新就打,加快升级步伐,获得大量储备经验,军演失败三次不建议头铁继续打,军演失败15次就打不了,建议升级后再打,尤其是开荒的时候,极易忘记打军演,新手一定要注意!
④开采,由司仓选手发动职业技能军屯,同盟玩家就可以进行开采啦,每天一次机会
4、S1同盟的限时军需补给建议盟主副盟直接满上加快盟壳升级
5、打完城后记得搬家到户口上,每天可以领资源包,增加资源收益



以上就是3DM小编整理带来的三国谋定天下新手怎么开荒,萌新开荒必备攻略,更多相关游戏攻略,请关注3DM手游网!
本文内容来源于互联网,如有侵权请联系删除。











热门评论
全部评论
还没有评论,快来抢沙发~